8号电控龙头锁 (微动开关)
8号电控龙头锁 (微动开关)

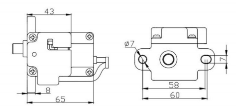
外形尺寸:65X43X49mm

额定电压:DC12V

额定电流:≤280mA

结构方式:直流电机+齿轮传动+霍尔定位

工作方式:电动解锁一线通


产品详情

image.png